- トップページ
- 茂山組ができるまで
-
1996年4月
設立 有限会社 茂山組 資本金500万円
岡山県東部を中心に建築工事を主に開業
-

-
1999年3月
株式会社 茂山組へ組織変更
資本金4000万円公共工事や大型工事へ参入
-
2002年12月
ISO9001認証取得
-


-
2003年4月
ソーラーシステム施工開始
岡山市に営業拠点を構え、住宅用ソーラーシステムの販売施工を行う
-

-
2004年9月
㈱京セラソーラーコーポレーションと
FC契約を締結京セラソーラーFC岡山店開業、日本初のソーラーシステム専門展示場(メーカー除く)
-

-
2006年4月
岡山ショールームOPEN
国内外のモジュールメーカー取り扱い数を拡大し、ショールームをリニューアルOPEN
-

-
2007年4月
京セラソーラー 平成18年度セールスコンテスト優秀店舗賞受賞
セールス部門全国2位、施工品質部門全国1位を獲得
-


-
2008年5月
収益用太陽光施設 受注開始
病院、学校などに多くのソーラーシステムを設置
-

-
2010年3月
RSKハウジングプラザへネクサス展示場OPEN
西日本最大の住宅展示場にソーラーシステムショールームをOPEN
-

-
2011年9月
岡山本店OPEN
岡山市南区新保に自社ビルを持ち、営業拠点に
-


-
2012年2月
スペイン ネクサスリゾート株式会社
開設(子会社)スペイン最大規模の日本文化イベント「サロン・デル・マンガ」のオフィシャルスポンサーを務める
-
2012年4月
テレビCM第1弾放送
-

-
2012年4月
太陽光発電架台事業 スタート(架台の製造・販売)WEBサイト「太陽光発電架台.com」公開
自社で架台製造に踏み切る、東日本大震災が再生可能エネルギーにシストさせる転機となり、爆発的な販売数となる
-

-
2012年7月
東京オフィスOPEN
(架台事業東京支店)太陽光発電架台事業で関東に進出、西日本・東日本それぞれの拠点から全国に販売する
-

-
2013年1月
岡山物流センターOPEN
資材加工・管理・出荷を行う太陽光発電架台の全国出荷が増え、自社の物流センターを取得
-
2013年7月
テレビCM第2弾放送
-

-
2013年9月
自社発電所 津山ソーラヴィレッジ太陽光発電所稼働1.3メガワット
岡山県内に自社発電施設をつくり、メガソーラーの研究を行う
-


-
2014年4月
後楽園にある碧水園 運営開始(子会社)
日本三大庭園の後楽園にある碧水園の運営を受け継ぎ、カフェ・レンタルボートの事業を行なう 国内外からの観光客で連日にぎわいを見せる
-

-
2014年3月
岡山大学農学部と営農型太陽光の共同実験を開始(~2018.8まで)
35種類の作物がソーラーパネルの下で育つことを実証
-
2014年12月
テレビCM第3弾・第4弾放送
-


-
2015年4月
RSKハウジングプラザへオーガニックハウス モデルハウス「AZALEA(アザレア)」OPEN
念願の住宅事業に本格参入、西日本最大の住宅展示場にモデルハウスOPEN
-


-
2017年1月
折板屋根用架台「がに股くん」 特許取得
屋根補強も兼ね備えた断面構造、雨よけカバーで雨漏りも防ぐ
-


-
2017年3月
太陽光架台のラック「傾斜横ラック」 特許取得
細幅モジュールを1本の横ラックで支えれる「傾斜横ラック」
-


-
2018年4月
岡山バラ園スタジオOPEN(RSKハウジングプラザへ)リフォーム外構のショールーム
外構専属スタッフが入社し外構も自社で設計施工を行う
-


-
2020年5月
岡山県の工場・倉庫建築に本格参入
大型建築部門の拡大、「工場・倉庫建築.com」WEBサイト開設
-

-
2021年11月
TESLA蓄電池Powerwall販売開始
「テスラPowerwall認定施工会社」に岡山県に本社を置く企業において初めて認定
-


-
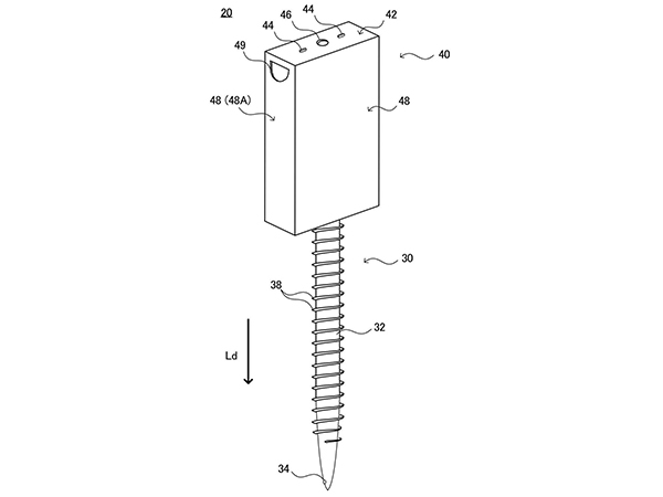
2022年8月
基礎一体型スクリュー杭
特許取得太陽光陸上架台の基礎、作業工数が少なく見栄えが良い基礎一体型スクリュー杭
-

-
2023年4月
岡山市SDGs推進パートナーズ
第1期登録事業者へ自社製太陽光用架台の製造販売で日本中の太陽光発電の設置に貢献することで、CO2の排出削減に貢献
-



-
2024年10月
分譲地ライトタウン・海吉にモデルハウス「平屋+1」OPEN
初の住宅分譲を開始、完成見学会では3日間で300組の方に来場いただいた
-


-
2025年5月
10000㎡を超える工場建設完成
大型建築工事が活況を呈する








